首頁 > 新聞中心 > 三偏心蝶閥是哪三偏?
三偏心蝶閥是哪三偏?
發布時間:2021-10-29 10:03:41
問:您好三偏心蝶閥的三偏是指什么呢?三偏心蝶閥是哪三偏?能不能詳細介紹一下。
般德閥門:原來蝶閥只用于水介質的截斷和聯通,三偏心的設計增強蝶閥的功能,已經成為工業管道設備中常用到的閥門之一。
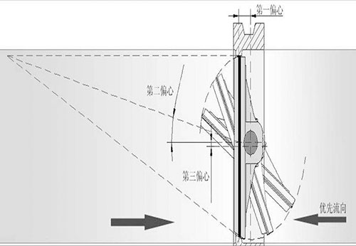
三偏心蝶閥,三個獨立的偏移被設計成了閥門。三偏心是指:

1)盤/閥座密封面的中心線;
2)軸相對于孔的中心線的位置;
3)從閥孔的中心線偏移的閥座錐角的軸線。
這三個偏移的組合提供了一個錐形的密封面,最大限度地減少閥座和密封件之間的磨損,提高閥門的使用壽命和密封性。此外,把優閥座面降低到最小,降低閥門的工作轉矩。

對夾式三偏心蝶閥圖
一般來說,由于其密封特性以及成本比其他金屬閥座閥門類型選擇更有優越性。由于結構緊湊,回轉的設計和輕質結構,可以安裝和操作方便,他們不需要管支撐。可更換的密封環,允許快速和簡單的維修和低扭矩(允許較小的驅動器)意味著更節省成本。
更多三偏心蝶閥知識請您持續關注般德閥門。三偏心蝶閥采購就找般德閥門。












