-
精密鑄造
閥體為精密鑄造閥體,外觀精細,材質達標
-
精密加工
內件數控機床加工,配合精密,零部件統配可互換,外觀平整美觀
-
密封面耐磨
密封面采用等離子堆焊,增加閥門耐磨性
-
密封材質可選
可根據要求選擇橡膠軟密封
-
雙層檢測
每臺閥門出廠均按照國家標準做殼體、密封雙層壓力檢測
-
-
-
-
產品優點
產品介紹
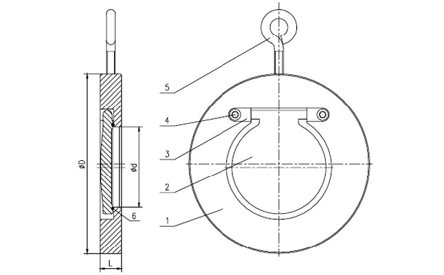
H74型對夾式止回閥,是一種薄型圓盤式止回閥,適用于空間狹小的安裝工況,連接方式采用對夾標準設計,閥瓣為旋啟式結構;具有結構簡單,外形美觀、重量輕,安裝方便等優點。主要適用于給水系統、石油、化工、冶金等工業部門對有安裝空間限制的場所更為適用。
產品參數

名稱 | 設計及制造 | 連接標準 | 結構長度 | 試壓標準 |
參照標準 | JB/T 8937 | GB/T 9113 | JB/T 8937 | GB/T 13927 |
名稱 | 閥體 | 閥座 | 閥瓣 |
材質及說明 | CF8 | 304 | CF8 |
DN | NPS(英寸) | L | D | Φd |
50 | 2'' | 19 | 108 | 25 |
65 | 2 1/2'' | 19 | 128 | 38 |
80 | 3'' | 19 | 143 | 46 |
100 | 4'' | 19 | 163 | 72 |
125 | 5'' | 19 | 193 | 95 |
150 | 6'' | 19 | 219 | 115 |
200 | 8'' | 29 | 274 | 140 |
250 | 10'' | 29 | 329 | 188 |
300 | 12'' | 38 | 385 | 216 |
350 | 14'' | 41 | 444 | 263 |
400 | 16'' | 51 | 496 | 305 |
450 | 18'' | 51 | 555 | 356 |
500 | 20'' | 65 | 616 | 406 |
600 | 24'' | 70 | 733 | 482 |
