止回閥尺寸表
發布時間:2022-05-05 16:24:10
止回閥尺寸表
止回閥是指啟閉件為圓形閥瓣并靠自身重量及介質壓力產生動作來阻斷介質倒流的一種閥門。屬自動閥類,又稱逆止閥、單向閥、回流閥或隔離閥。
常見的止回閥種類有:蝶式止回閥(DH77X)、旋啟式止回閥(H44H)、消聲止回閥(HC41X)。三種不同的止回閥,它們的結構各不相同,自然的三種止回閥尺寸也就都不一樣。

為什么一定要知道止回閥尺寸表呢,是因為通常我們只有了解了止回閥的安裝尺寸和口徑大小,這直接關系到我們工程在架管子時,要為兩個管子之間預留多少的距離。
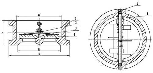
我們可以以蝶式止回閥為例,看一下蝶式止回閥尺寸表。

| 尺寸信息 | DN | NPS(英寸) | L±1.5 | D | D1 | D2 |
| 50 | 2'' | 43 | 101 | 58 | 65 | |
| 65 | 2 1/2'' | 46 | 118 | 75 | 80 | |
| 80 | 3'' | 64 | 132 | 85 | 94 | |
| 100 | 4'' | 64 | 157 | 105 | 117 | |
| 125 | 5'' | 70 | 186 | 125 | 145 | |
| 150 | 6'' | 76 | 213 | 165 | 170 |
此止回閥尺寸表僅供參考,詳細尺寸信息請咨詢般德閥門客服。
其他類型止回閥尺寸表,請您聯系般德閥門客服索要。












