法蘭截止閥型號尺寸
發布時間:2023-02-08 14:19:39
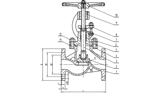
截止閥又稱截門閥,屬于強制密封式閥門,的啟閉件是塞形的閥瓣,密封上面呈平面或錐面,閥瓣沿閥座的中心線作直線運動。常見的截止閥有三種連接形式,法蘭式、螺紋式、焊接式。其中法蘭式在三種連接形式中的應用更多。本篇文章,我們就重點為您介紹法蘭截止閥,以及它的型號和尺寸。

常見的法蘭截止閥型號有:J41H-16C鑄鋼法蘭截止閥、J41W-16P不銹鋼法蘭截止閥、WJ41H-16C波紋管截止閥。這幾種截止閥區別在于適用工況上有一些差異,鑄鋼截止閥J41H-16C主要適用于高溫高壓的工況,比如蒸汽管道等;不銹鋼截止閥J41W-16P用于需要防銹蝕的環境中,比如醫藥食品行業等;而波紋管截止閥WJ41H-16C則適用于易燃、易爆等介質管道上。雖然這三種型號的法蘭截止閥用途不同,材質不同,但是它們的結構尺寸是一樣的。下面是法蘭截止閥尺寸表。

| DN | NPS(英寸) | L | D | D1 | Z-φd |
| 50 | 2'' | 230 | 160 | 125 | 4-18 |
| 65 | 2 1/2'' | 290 | 180 | 145 | 4-18 |
| 80 | 3'' | 310 | 195 | 160 | 8-18 |
| 100 | 4'' | 350 | 215 | 180 | 8-18 |
| 125 | 5'' | 400 | 245 | 210 | 8-18 |
| 150 | 6'' | 480 | 280 | 240 | 8-22 |
| 200 | 8'' | 600 | 335 | 295 | 12-22 |
| 250 | 10'' | 650 | 405 | 355 | 12-26 |
| 300 | 12'' | 750 | 460 | 410 | 12-26 |












