軟密封閘閥性能優越,是傳統閘閥的升級產品,它的出現解決了傳統閘閥在長期使用過程中出現的銹蝕嚴重、容易泄露、彈性差等問題,大大提升了閘閥的性能。

軟密封閘閥
軟密封閘閥優越的性能主要體現在
1.閥體材質使用球墨鑄鐵,而傳統的閘閥材質通常使用灰鑄鐵,使用球鐵材質的軟密封閘閥重量更輕,在安裝以及維修時候都會更方便。
2.使用粉體環氧樹脂涂裝閥體,能更有效的防止閥門被氧化銹蝕,使用壽命更長。并且這種噴涂工藝先進又環保。
3.閥座的底部為平底設計,這樣當流經閥體通道的介質中含有雜質的話,不會輕易出現雜質沉淀淤積現象,保證軟密封閘閥的密封性。
4.用品質很高的橡膠對閘板做整體包膠,并且兩者之間連接牢靠不脫落,橡膠且有彈性記憶,閘板和閥座的密封面可以越關越緊,密封效果更佳。并且這種橡膠無毒無公害,使用更安全。
軟密封閘閥是橡膠包裹金屬閘閥,閥體采用球墨鑄鐵,外表面采用環氧樹脂烤漆,可符合自來水的衛生要求,被廣泛用在純凈水、自來水等管道中,常用于市政生活給排水管道,做水體截斷使用。
Z45x-16Q軟密封閘閥規格尺寸

| 閥門執行標準 | 名稱 | 設計及制造 | 結構長度 | 試壓標準 | 連接法蘭尺寸 | |
| 參照標準 | DIN 3352 | DIN 3202 | DIN 3230 | DIN EN 1092 | ||
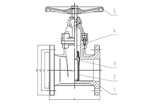
| 主要零部件信息 | 名稱 | 1-閥體 | 2-閥座密封 | 3-閥瓣 | 4-閥軸 | 5-手輪 |
| 材質 | 球墨鑄鐵DI | EPDM | 球墨鑄鐵DI+EPDM | 2Cr13 | DI | |
| 尺寸信息 | 公稱尺寸 | 結構長度F4 | PN16 | |||
| DN | NPS(英寸) | L | ΦA | ΦB | ΦC | |
| 50 | 2'' | 150 | 165 | 125 | 102 | |
| 65 | 2 1/2'' | 170 | 185 | 145 | 122 | |
| 80 | 3'' | 180 | 200 | 160 | 138 | |
| 100 | 4'' | 190 | 220 | 180 | 158 | |
| 125 | 5'' | 200 | 250 | 210 | 188 | |
| 150 | 6'' | 210 | 285 | 240 | 212 | |
| 200 | 8'' | 230 | 340 | 295 | 268 | |
| 250 | 10'' | 250 | 405 | 355 | 320 | |
| 300 | 12'' | 270 | 460 | 410 | 378 | |
| 350 | 14'' | 290 | 520 | 470 | 438 | |
| 400 | 16'' | 310 | 580 | 525 | 490 | |
| 450 | 18'' | 330 | 640 | 585 | 550 | |
| 500 | 20'' | 350 | 715 | 650 | 610 | |
| 600 | 24'' | 390 | 840 | 770 | 725 | |
| 700 | 28'' | 430 | 910 | 840 | 795 | |
| 800 | 32'' | 470 | 1025 | 950 | 900 | |
| 900 | 36'' | 510 | 1125 | 1050 | 1000 | |
| 1000 | 40'' | 550 | 1255 | 1170 | 1115 | |
| 1200 | 48'' | 630 | 1485 | 1390 | 1330 | |
上一篇:氣動調節蝶閥原理及廠家
下一篇:氣動蝶閥價格及原理
語言:簡體中文
English
Русский
簡體中文





