-
球墨鑄鐵精密鑄造,不易拉裂、凍裂
閥體采用球墨鑄鐵材料進行精密鑄造,不易拉裂、凍裂;不會因運輸、碰撞、安裝而造成斷裂等現象。
-
特殊工藝噴涂閥體,有效防止腐蝕生銹
閥體內外采用粉沫環氧樹脂靜電涂裝,噴涂厚度達到250μm,有效防止閥體與介質接觸造成的腐蝕與生銹,并可用于污水系統。
-
閥板由EPDM橡膠整體包覆,密封性能穩定
閥板采用EPDM橡膠進行整體包覆,且橡膠與球墨鑄鐵閘板連接牢靠,不易脫落及彈性記憶佳,從而保證閥門密封性能穩定。
-
三“O”型環密封圈設計,開關阻力小
閥桿為2Cr13材料并采用三“O”型環密封圈設計。可減少開關時的摩擦阻力,避免介質外漏及可以不停水施工更換密封圈。
-
黃銅材料的閥桿螺母,開關更順暢
閥桿螺母和定位裝置采用黃銅材料,開關更順暢,避免操作過程中出現的卡阻現象。
-
層層質檢,保證產品品質
從毛坯到成品包裝出廠每個環節層層質檢。
-
-
-
產品優點
產品介紹
軟密封閘閥Z45X-16Q是般德閥門生產的彈性座軟密封閘閥,利用閥門整體包膠產生變形補償作用達到良好的密封效果,克服了一般閘閥密封不良,漏水和生銹的現象。軟密封閘閥底部采用與水管相同的平底設計,不易造成雜物淤積,使流體通暢無阻。可廣泛用于自來水,污水,建筑,輕紡,電力,船舶,冶金,能源系統能流體管線上作為調節和截流裝置使用。
產品參數

軟密封閘閥Z45X-16Q參數信息
閥門執行標準 | 名稱 | 設計及制造 | 結構長度 | 試壓標準 | 連接法蘭尺寸 | |
參照標準 | DIN 3352 | DIN 3202 | DIN 3230 | DIN EN 1092 | ||
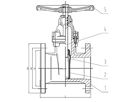
主要零部件信息 | 名稱 | 1-閥體 | 2-閥座密封 | 3-閥瓣 | 4-閥軸 | 5-手輪 |
材質 | 球墨鑄鐵DI | EPDM | 球墨鑄鐵DI+EPDM | 2Cr13 | DI | |
尺寸信息 | 公稱尺寸 | 結構長度F4 | PN16 | |||
DN | NPS(英寸) | L | ΦA | ΦB | ΦC | |
50 | 2'' | 150 | 165 | 125 | 102 | |
65 | 2 1/2'' | 170 | 185 | 145 | 122 | |
80 | 3'' | 180 | 200 | 160 | 138 | |
100 | 4'' | 190 | 220 | 180 | 158 | |
125 | 5'' | 200 | 250 | 210 | 188 | |
150 | 6'' | 210 | 285 | 240 | 212 | |
200 | 8'' | 230 | 340 | 295 | 268 | |
250 | 10'' | 250 | 405 | 355 | 320 | |
300 | 12'' | 270 | 460 | 410 | 378 | |
350 | 14'' | 290 | 520 | 470 | 438 | |
400 | 16'' | 310 | 580 | 525 | 490 | |
450 | 18'' | 330 | 640 | 585 | 550 | |
500 | 20'' | 350 | 715 | 650 | 610 | |
600 | 24'' | 390 | 840 | 770 | 725 | |
700 | 28'' | 430 | 910 | 840 | 795 | |
800 | 32'' | 470 | 1025 | 950 | 900 | |
900 | 36'' | 510 | 1125 | 1050 | 1000 | |
1000 | 40'' | 550 | 1255 | 1170 | 1115 | |
1200 | 48'' | 630 | 1485 | 1390 | 1330 |
