-
厚度達標
法蘭及套管厚度達到標準規定;
-
滿焊
所有焊縫均滿焊,保證連接強度;
-
外觀保證
表面打磨光滑,沒有焊渣,噴漆均勻,保證外觀;
-
重量達標
重量均達到02S404標準要求;
-
使用安全
所有銳角倒鈍,確保使用方便安全。
-
-
-
-
產品優點
產品介紹
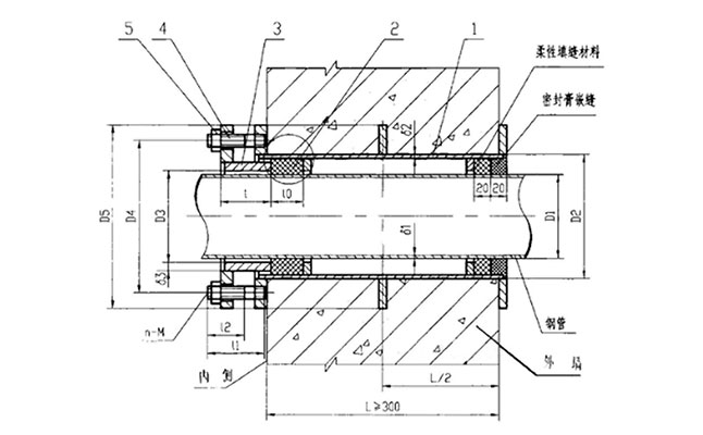
般德柔性防水套管,產品配置:法蘭:Q235, 套管:Q235 密封圈:NBR。主要用在市政建設、給排水上。
產品參數

執行標準 | 設計及制造標準 | ||||||
02S404 | |||||||
主要零部件信息 | 名稱 | 法蘭 | 套管 | 密封圈 | |||
材質及說明 | Q235 | Q235 | NBR/ERDM | ||||
尺寸信息 | DN | D1 | D2 | D3 | D4 | D5 | n-M |
50 | 60 | 95 | 65 | 145 | 200 | 4-M12 | |
65 | 76 | 114 | 80 | 165 | 220 | 4-M12 | |
80 | 89 | 127 | 95 | 180 | 235 | 4-M16 | |
100 | 108 | 146 | 114 | 200 | 255 | 4-M16 | |
125 | 133 | 180 | 140 | 235 | 290 | 6-M16 | |
150 | 159 | 203 | 165 | 260 | 315 | 6-M16 | |
200 | 219 | 265 | 226 | 320 | 375 | 6-M16 | |
250 | 273 | 325 | 280 | 380 | 435 | 8-M16 | |
300 | 325 | 377 | 333 | 435 | 495 | 8-M20 | |
350 | 377 | 426 | 385 | 485 | 545 | 8-M20 | |
400 | 426 | 480 | 435 | 540 | 600 | 12-M20 | |
450 | 480 | 530 | 488 | 590 | 650 | 12-M20 | |
500 | 530 | 585 | 538 | 645 | 705 | 16-M20 | |
600 | 630 | 690 | 640 | 755 | 820 | 16-M24 | |
700 | 720 | 780 | 730 | 845 | 910 | 20-M24 | |
800 | 820 | 880 | 830 | 950 | 1020 | 20-M27 | |
900 | 920 | 980 | 930 | 1050 | 1120 | 20-M27 | |
1000 | 1020 | 1080 | 1030 | 1150 | 1220 | 24-M27 |
